"Waste Oil Stored In Horizontally Mounted 45 Gal. drums
 ✖  |
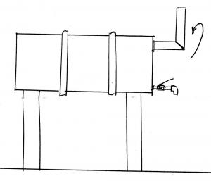
Allan S. Maclean, Kingston, Ont.: "Waste oil can be stored in horizontally mounted 45 gal. drums by installing a piece of 2-in. pipe formed into a 90? elbow. Screw one end into the 2-in. hole, swinging it up to fill and down for a rain-proof vent. A 3/4-in. ball valve installed in the lower 3/4-in. tapped hole is used to draw off the oil."

Click here to download page story appeared in.
Click here to read entire issue
"Waste Oil Stored In Horizontally Mounted 45 Gal. drums ENERGY Waste Oil 25-6-38 Allan S. Maclean, Kingston, Ont.: "Waste oil can be stored in horizontally mounted 45 gal. drums by installing a piece of 2-in. pipe formed into a 90? elbow. Screw one end into the 2-in. hole, swinging it up to fill and down for a rain-proof vent. A 3/4-in. ball valve installed in the lower 3/4-in. tapped hole is used to draw off the oil."
To read the rest of this story, download this issue below or click
here to register with your account number.